TAG關鍵詞:cnc加工,東莞CNC加工,深圳CNC加工,不銹鋼加工,車加工,車床加工廠,鈦合金加工,五金產品,軸加工,
齒坯的機械加工方案的選擇
對于軸齒輪和套筒齒輪的齒坯,其加工過程和一般軸、套基本相似,現主要討論盤類齒輪齒坯的加工過程。齒坯的加工工藝方案主要取決于齒輪的輪體結構和生產類型。
1. 大批大量生產的齒坯加工
大批大量加工中等尺寸齒坯時,多采用“鉆一拉一多刀車”的工藝方案。
(1)以毛坯外圓及端面定位進行鉆孔或擴孔。
(2)拉孔。
(3)以孔定位在多刀半自動車床上粗精車外圓、端面、切槽及倒角等。
這種工藝方案由于采用高效機床可以組成流水線或自動線,所以生產效率高。
2. 成批生產的齒坯加工
成批生產齒坯時,常采用“車一拉一車”的工藝方案
(1)以齒坯外圓或輪毅定位,精車外圓、端面和內孔。
(2)以端面支承拉孔(或花鍵孔)。
(3)以孔定位精車外圓及端面等。
這種方案可由臥式車床或轉塔車床及拉床實現。它的特點是加工質量穩定,生產效率較高。
當齒坯孔有臺階或端面有槽時,可以充分利用轉塔車床上的多刀來進行多工位加工,在轉塔車床上一次完成齒坯的加工。
輪齒加工方法
齒輪齒圈的齒形加工是整個齒輪加工的核心。齒輪加工有許多工序,這些都是為齒形加工服務的,其目的在于最終獲得符合精度要求的齒輪。
按照加工原理,齒形可分為成形法和展成法。成形法是用與被切齒輪齒槽形狀相符的成形刀具切出齒面的方法,如銑齒、拉齒和成型磨齒等。
展成法是齒輪刀具與工件按齒輪副的嚙合關系作展成運動切出齒面的方法,如滾齒、插齒、剃齒、磨齒和珩齒等。
齒形加工方案的選擇,主要取決于齒輪的精度等級、結構形狀、生產類型及生產條件,對于不同的精度等級的齒輪,常用的齒形加工方案如下:
(1)8級精度以下齒輪
調質齒輪用滾齒或插齒就能滿足要求。對于淬硬齒輪可采用:滾(插)齒—齒端加工—淬火—校正孔的加工方案。但淬火前齒形加工精度應提高一級。
(2)6-7級精度齒輪
對于淬硬齒輪可采用:粗滾齒—精滾齒—齒端加工—精剃齒—表面淬火—校正基準—珩齒。
(3)5級精度以上齒輪
一般采用:粗滾齒—精滾齒—齒端加工—淬火—校正基準—粗磨齒—精磨齒。磨齒是目前齒形加工中精度最高,表面粗糙度值最小的加工方法,最高精度可達3-4級。
1. 銑齒
齒輪精度等級:9級以下
齒面粗糙度Ra:6.3~3.2μm
適用范圍:單件修配生產中,加工低精度的外圓柱齒輪、齒條、錐齒輪、蝸輪
2. 拉齒
齒輪精度等級:7級
齒面粗糙度Ra:1.6~0.4μm
適用范圍:大批量生產7級內齒輪,外齒輪拉刀制造復雜,故少用
3. 滾齒
齒輪精度等級:8~7級
齒面粗糙度Ra:3.2~1.6μm
適用范圍:各種批量生產中,加工中等質量外圓柱齒輪及蝸輪
4. 插齒
齒輪精度等級:8~7級
齒面粗糙度Ra:1.6μm
適用范圍:各種批量生產中,加工中等質量的內、外圓柱齒輪、多聯齒輪及小型齒條
5. 滾(或插)齒—淬火—珩齒
齒輪精度等級:8~7級
齒面粗糙度Ra:0.8~0.4μm
適用范圍:用于齒面淬火的齒輪
6. 滾齒—剃齒
齒輪精度等級:7~6級
齒面粗糙度Ra:0.8~0.4μm
適用范圍:主要用于大批量生產
7. 滾齒—剃齒—淬火—珩齒
齒輪精度等級:7~6級
齒面粗糙度Ra:0.4~0.2μm
適用范圍:主要用于大批量生產
8. 滾(插)齒—淬火—磨齒
齒輪精度等級:6~3級
齒面粗糙度Ra:0.4~0.2μm
適用范圍:用于高精度齒輪的齒面加工,生產率低,成本高
9. 滾(插)齒—磨齒
齒輪精度等級:6~3級
齒面粗糙度Ra:0.4~0.2μm
適用范圍:用于高精度齒輪的齒面加工,生產率低,成本高
齒端的加工
齒輪的齒端加工有倒圓、倒尖、倒棱和去毛刺等方式,下圖所示。倒圓、倒尖后的齒輪在換檔時容易進人嚙合狀態,減少撞擊現象。倒棱可除去齒端尖邊和毛刺。

齒端加工
a)倒圓 b)倒尖 c)倒棱
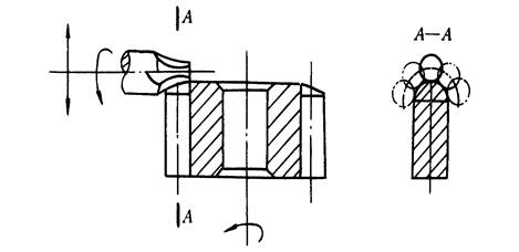
下圖是用指狀銑刀對齒端進行倒圓的加工示意圖。倒圓時,銑刀高速旋轉,并沿圓弧作擺動,加工完一個齒后,工件退離銑刀,經分度再快速向銑刀靠近加工下一個齒的齒端。齒端加工必須在齒輪淬火之前進行,通常都在滾(插)齒之后,剃齒之前安排齒端加工。











